您好,欢迎来到邹平力测电子有限公司
邹平力测电子有限公司
全国服务咨询热线:
0543-4617245
PRODUCTS CENTER
产品中心
当前位置:首页  > 产品中心 > 详细信息
悬臂梁称重传感器LCX-1型

一、产品简介:
 

LCX-1型钢制悬臂梁式称重传感器,一端固定、一端加载、传力形式多样,并设有良好的密封结构。受力后自动调心好,安装容易、使用方便、互换性好,可用于制作各种超薄型电子汽车衡、单轨吊秤、料斗秤等。

二、技术指标:


量程

0.05~10t

输入电阻

385±10Ω

灵敏度

2±0.01 mV/V

3±0.01 mV/V

输出电阻

350±3Ω

非线性 /滞后/重复性

± 0.02%FS

绝缘电阻

≥ 5000 MΩ

蠕 变

± 0.02%FS

供桥电压

10(DC/AC) V

零点输出

± 1.00%FS

工作温度

- 20~+60℃

零点温度影响

± 0.02%FS/10℃

安全过载

120%FS

输出温度影响

± 0.02%FS/10℃

材质

合金钢或不锈钢

接线方式

输入:红(+)黑(-) 输出:绿(+) 白(-)


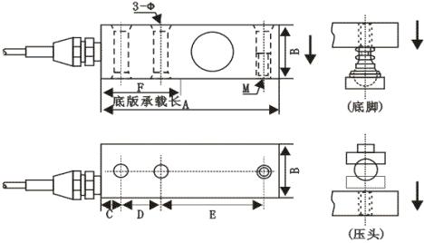
三、外形尺寸:

            

量程

尺寸 (mm)

螺纹

(kg)

A

B

C

D

E

F

Φ

公制 (mm)

0.05~2

130.0

32.0

15.7

25.4

76.2

57.0

13.5

M12*1.75

2.5~5

171.5

38.0

19.1

38.1

95.3

76.0

20.0

M18*1.5

7.5~10

222.5

50.8

25.4

50.8

123.8

102.0

27.0

M24*2


 
    本文标签:悬臂梁称重传感器LCX-1型
版权所有:邹平力测电子有限公司
地址:山东邹平县腾达路88号
公司电话:0543-4617245
邮箱:licechina@163.com
技术支持:山东华拓网络